StylAir offers a wide range of auto drains and traps to eliminate condensate from compressors, aftercoolers, filters, receivers, dryers, drip legs, etc.
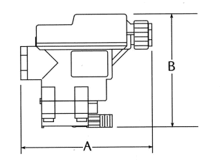
StylAir Model OA111 Intelligent Drain
StylAir’s line of “no-air-loss” electronic demand drains eliminate condensate without loss of valuable compressed air. On demand design discharges only when condensate collects in the housing sump – automatically adjusts to high or low demands.
- Simple Installation – No adjustments required
- Reliable – more tolerant to heavily contaminated systems
- Easy to Use –
- Non-wearing capacitive level sensor
- LED Indicator shows drain status
- Manual Override
- NEMA 4
These drains are a MUST for oil/water separators to prevent agitation which disrupts oil separation.
These drains are excellent for use with our Condensate Purifiers.
| Model | Conn. Size | Nominal Capacity (GPH) | Typical Applications (SCFM) | Approximate Dimensions | |||
| Compressor/ Aftercooler | Refrigerated Dryer | Coalescing Prefilter | A | B | |||
| OA111-1 | 1/2"NPT | 0.6 | 70 | 250 | 750 | 5.5 | 4.5 |
| OA111-2 | 1/2"NPT | 1 | 125 | 450 | 1,500 | 7 | 4.5 |
| OA111-3 | 1/2"NPT | 2.6 | 340 | 1,250 | 3,000 | 6 | 5.5 |
| OA111-4 | 1/2"NPT | 10 | 1,350 | 5,000 | 10,000 | 8.5 | 6.5 |
| OA111-5 | 3/4"NPT | 31 | 4,000 | 14,500 | 30,000 | 10 | 7 |
| OA111-6 | 1"NPT | 150 | 19,000 | 71,000 | - | 11 | 11 |
| Max. Pressure: | 230 PSIG | Max. Temp: | 140oF | ||||







